Product Summary
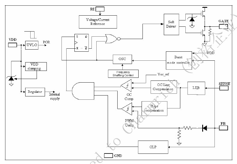
The OB2263 is a highly integrated current mode PWM control IC optimized for high performance, low standby power and cost effective offline flyback converter applications in sub 30W range.
Parametrics
Absolute maximum ratings: (1)VDD DC Supply Voltage: 30 V; (2)VDD Clamp Voltage: 34V; (3)VDD DC Clamp Current: 10 mA; (4)VFB Input Voltage: -0.3 to 7V; (5)VSENSE Input Voltage to Sense Pin: -0.3 to 7V; (6)VRI Input Voltage to RI Pin: -0.3 to 7V; (7)Min/Max Operating Junction Temperature TJ: -20 to 150 ℃; (8)Min/Max Storage Temperature Tstg: -55 to 160 ℃.
Features
Features: (1)On-Bright Proprietary Frequency Shuffling Technology for Improved EMI Performance; (2)Extended Burst Mode Control For Improved Efficiency and Minimum Standby Power Design; (3)Audio Noise Free Operation; (4)External Programmable PWM Switching Frequency; (5)Internal Synchronized Slope Compensation; (6)Low VDD Startup Current and Low Operating Current (1.4mA); (7)Leading Edge Blanking on Current Sense Input; (8)Good Protection Coverage With Auto Self- Recovery.
Diagrams

| Image | Part No | Mfg | Description | ![]() |
Pricing (USD) |
Quantity | ||||
|---|---|---|---|---|---|---|---|---|---|---|
![]() |
![]() OB2263 |
![]() Other |
![]() |
![]() Data Sheet |
![]() Negotiable |
|
||||
| Image | Part No | Mfg | Description | ![]() |
Pricing (USD) |
Quantity | ||||
![]() |
![]() OB2202 |
![]() Other |
![]() |
![]() Data Sheet |
![]() Negotiable |
|
||||
![]() |
![]() OB2203 |
![]() Other |
![]() |
![]() Data Sheet |
![]() Negotiable |
|
||||
![]() |
![]() OB2262 |
![]() Other |
![]() |
![]() Data Sheet |
![]() Negotiable |
|
||||
![]() |
![]() OB2263 |
![]() Other |
![]() |
![]() Data Sheet |
![]() Negotiable |
|
||||
![]() |
![]() OB2269C |
![]() Other |
![]() |
![]() Data Sheet |
![]() Negotiable |
|
||||
(China (Mainland))








